Zdeněk Herman: Začátky hmotnostní spektrometrie u nás a hmotnostní spektrometrie v Ústavu fyzikální chemie Akademie věd

ČSHS: Zdeněk Herman: Začátky hmotnostní spektrometrie u nás a hmotnostní spektrometrie v Ústavu fyzikální chemie Akademie věd
Zdeněk Herman se narodil 24. března 1934 v Libušině u Kladna. Absolvent matematicko-fyzikální fakulty University Karlovy, obor fyzikální chemie a radiochemie. V Ústavu fyzikální chemie Akademie věd pracuje od r. 1957. Zabývá se hmotnostní spektrometrií a kinetikou a dynamikou iontových srážek, v těchto oborech publikoval přes 220 prací. Zavedl k nám metodu molekulových paprsků, aplikovanou na tento výzkum, zvláště pak na výzkum dynamiky chemických reakcí iontů metodou rozptylu ve zkřížených paprscích částic. Působil také v zahraničí, v USA na Yaleově universitě (1964-65, hostující vědecký pracovník 1966) a jako hostující profesor na University of Colorado (1968-69) a JILA (Joint Institut for Laboratory Astrophysics, Boulder, 1980, 2001) a na University of Chicago (1993-97) jakož i na řadě institucí v Německu, Rakousku, Francii, Británii a Japonsku. Jeho práce byla oceněna v Německu udělením Ceny Alexandra von Humboldta (1992) a u nás hlavní cenou České hlavy za celoživotní dílo (2003). Mezinárodní odborné časopisy mu věnovaly speciální čestná čísla k šedesátým (J. Phys. Chem. 99, No.42, 1995) a 75. narozeninám (Int. J. Mass Spectrom., Vol. 280, 2009). Po roce 1990 se stal u nás profesorem fyzikální chemie na VŠCHT Praha (1996) a je čestným profesorem iontové fyziky na Universitě v Innsbrucku (1993), kde mu byl také udělen čestný doktorát (2009).
Příběh hmotnostní spektrometrie u nás začíná počátkem padesátých let v okruhu žáků prof. Jaroslava Heyrovského (1890-1967) v ústavu fyzikální chemie University Karlovy a v Polarografickém ústavu. Všichni vyrůstali v oblasti této české školy elektrochemie, ale jak prof. Heyrovský tak jeho žák, prof. Rudolf Brdička, je měli k tomu, aby svou samostatnou práci orientovali do nových vznikajících oborů chemie. Se založením Československé akademie věd v r. 1952 vznikla i Laboratoř fyzikální chemie ČSAV (rozšířená od r. 1955 na Ústav fyzikální chemie ČSAV) a vedením byl pověřen prof. Rudolf Brdička (1906-1970). Čtyři mladí pracovníci tohoto ústavu, Vladimír Čermák (1920-1980), Vladimír Hanuš (1923-2009), Josef Cabicar (1923-1998) a Čestmír Jech (1925-2002), kteří zde právě končili aspiranturu (1949-52) a získali nový titul CSc., zvolili pro svou další práci konstrukci hmotnostního spektrometru, prvního takového přístroje u nás. Tři z nich jako fyzikální chemici, Čestmír Jech se připojil jako radiofyzik od prof. Běhounka. Patřili vesměs ke generaci, která byla ovlivněna uzavřením vysokých škol za války, a Karlovu universitu mohli začít studovat až jako více než dvacetiletí. Tento návrat do školních lavic v dospělém věku vyžadoval jistě značnou motivaci a bezpochyby právě proto z této generace vzešlo tolik významných vědců.
ČSHS: Obrázek 1: První hmotnostní spektrometr v ČSR a záznam prvního spektra rtuti (prosinec 1953)
Konstrukce velkého vakuového přístroje nebyla lehkým úkolem v poválečné nedostatkové době a v zemi, která byla po r. 1948 ve značné izolaci od dění v západní Evropě. Na všechno bylo třeba shánět složitě materiál, jak mechanické tak vakuové části i elektroniku (velkou část zdrojů tvořil německý kořistný materiál) bylo třeba zhotovit vlastními silami, s přispěním ústavních sklářů a mechaniků.
Po necelých dvou letech byl přístroj uveden do chodu, první spektrum rtuti v prosinci 1953 bylo zaznamenáno ještě pomocí polarografické metody galvanometru a fotografické kazety (Obrázek 1). Ústav fyzikální chemie ČSAV se tak stal prvním a na delší dobu hlavním pracovištěm v oblasti hmotnostní spektrometrie v ČSR.
Přístroj byl magnetický hmotnostní spektrometr Nierova typu (Obrázek 2) s jednoduchou fokusací a 60° magnetickým polem o poloměru 152 mm (1). Přístroj byl čerpaný kovovou rtuťovou difuzní pumpou Leybold (čerpací rychlost byla pouhých 15 l/s), která byla spojena se skleněnou vymrazovačkou, chlazenou směsí tuhého oxidu uhličitého s alkoholem. Stroj měl měděnou trubici, olovem těsněný Nierův zdroj, ale napouštěcí systém a ostatní části přístroje byly skleněné, jak ostatně tehdy bývalo zvykem. Základní elektroniku tvořil elektronkový stabilizátor emise vlákna, postavený V. Čermákem, a elektrometrický obvod pro měření velmi malých proudů, zkonstruovaný V. Hanušem. Zdrojem urychlovacího napětí 2 keV byla soustava anodových baterií. Měření vakua obstarával vakuometr Penningova typu.
ČSHS: Obrázek 2: Schema přístroje
Konstrukce prvního hmotnostního spektrometru v zemi byla mimořádným počinem, který byl v r. 1954 oceněn udělením Státní ceny (Obrázek 3). Potom se však Dr. Cabicar vrátil ke své práci v oblasti difúze a irreversibilní termodynamiky (po několika letech odešel na jadernou fakultu ČVUT) a Dr. Jech ke své radiofyzice a radiochemii, u spektrometru zůstali ti dva, kteří do konstrukce přinesli největší vklad, V. Čermák a V. Hanuš (Obrázek 4).
ČSHS: Obrázek 3: Novinový snímek vyznamenané skupiny
Dr. Vladimír Čermák pocházel z jižních Čech a těsně před válkou začal studovat na Karlově universitě, ale krátce potom došlo k uzavření vysokých škol. V. Čermák pak pracoval během války v chemickém průmyslu. Na jeho zdraví se silně podepsalo asi roční věznění (za urážku vlajky Velkoněmecké říše). Po válce studoval chemii na Karlově universitě a na své disertaci z oblasti elektrochemie (polarografie kyseliny dithioničité a siřičité) pracoval v okruhu prof. Heyrovského. Čermák byl osobností i mimo oblast odbornou, měl rád přírodu a myslivost, měl velký kulturní rozhled a rozsáhlé znalosti literatury, obdivoval Francii, její kulturu i jazyk, a mezi přáteli byl znám jako „arbiter elegantiarum“. Dr. Vladimír Hanuš, východočech z Bílé Třemešné, vystudoval gymnasium v Dvoře Králové a na počátku války abiturientský kurs chemické průmyslovky v Kolíně. Pak pracoval ve Fragnerově měcholupské továrně na léčiva v prostředí mezi lidmi, jež pro něho – podle jeho vlastních slov – bylo výbornou školou v oblasti organické a analytické chemie. Po skončení války začal studovat chemii na Karlově universitě, stal se brzy asistentem na katedře fyzikální chemie a respektovaným příslušníkem skupiny elektrochemiků kolem prof. Heyrovského a prof. Brdičky. Jeho disertační práce z oblasti polarografických kinetických proudů byla zcela výjimečná rozsahem i kvalitou a při její obhajobě mu komise navrhla, aby práci poněkud rozšířil a podal ji jako práci doktorskou. Byl by se tak stal vůbec prvním doktorem věd v ČSR. Hanuš však tuto nabídku odmítl s tím, že nepovažuje za morální použít stejné nebo podobné výsledky k získání dvou titulů, a až do smrti zůstal kandidátem věd. Vladimír Hanuš byl mimořádnou osobností ústavu, jeho encyklopedické vědomosti z celé oblasti chemie byly legendární, říkávalo se, že se ho člověk může zeptat na cokoliv a že to bude buď vědět, nebo z něj vypadne citace.
ČSHS: Obrázek 4: Dr. Vladimír Čermák (1920–1980) a Dr. Vladimír Hanuš
Čermák i Hanuš věděli, že další vývoj metody budou muset zabezpečit zkušeným elektrotechnikem a zkušeným mechanikem. V obou případech měli velmi šťastnou ruku: v polovině padesátých let se ke skupině připojil Ing. Miroslav Pacák (1911-1988) a pan Josef Protiva (1914-2004), (Obrázek 5). Ing. Pacák, další významná individualita skupiny hmotnostní spektrometrie, vystudoval pražskou techniku ve třicátých létech a potom pracoval jako elektrotechnik v slánské továrně Palaba, jejíhož majitele, továrníka Pály, si mimořádně vážil. Byl nadšeným divákem Osvobozeného divadla, kde nevynechal snad jedinou hru. Byl pak vedoucím redaktorem předválečného elektrotechnického časopisu „Radioamatér“, vydávaného Orbisem a známého tehdy i v zahraniční (jak jsme se mnohem později dozvěděli v Jugoslávii) a tady pracoval také během války a po ní (časopis v té době vycházel pod názvem „Elektronik“) až do r. 1951, kdy byl časopis zrušen. Ing. Pacák byl neobyčejně zkušený elektronik, který se krátce po nástupu do ústavu habilitoval jako docent ČVUT, kde přednášel slaboproudou elektrotechniku a měřící techniku. Jeho specialitou byly stabilizátory a měření malých proudů, přesně to, co hmotnostní spektrometrie potřebovala. Nikdy se nespokojil se známými postupy, ale stále vymýšlel nové metody řešení obvodů a především dovedl postavit elektronické obvody přesně podle požadavků, které mu chemici stanovili. Jeho činnost se v šedesátých létech rozšířila i do fyzikálního ústavu na univerzitě v Bonnu, do skupiny kolem příštího nositele Nobelovy ceny prof. Wolfganga Paula (m.j. otce kvadrupólového analyzátoru), kde si jeho elektronické invence neobyčejně vážili a kde jeho přístroje zanechaly vysoce respektovanou českou stopu.
ČSHS: Obrázek 5: Technické zázemí provozu hmotnostního spektrometru v ÚFCH ČSAV: Doc. Miroslav Pacák (1911–1988), Ing. Ladislav Hládek (1933-), elektronika, a pan Josef Protiva (1914–2005), jemná mechanika
O zlatých rukou pana Protivy bylo už řečeno hodně: byl to zcela výjimečný jemný mechanik, pro něhož žádná práce nebyla nemožná, byť to byla veleúzká štěrbina, nebo molekulová tryska sestavená z desítek tenkých folií, nebo jemná hodinářská oprava. Iontové zdroje, analyzátory energie, zpomalovací čočky, postavené jeho rukama, pracovaly na mnoha místech ve světě v laboratořích kolegů, kteří takové štěstí na mechanika neměli. Pan Protiva přišel do ústavu z elektronických dílen Čs. rozhlasu a po několika létech přivedl z těchto dílen i mladšího mechanika Antonína Popeláka.
V r. 1955 začal v laboratoři pracovat na své diplomové práci končící student fyzikální chemie Zdeněk Dolejšek (*1932). Námětem jeho diplomky bylo dokončení konstrukce malého hmotnostního analyzátoru Dempsterova typu, t.j. magnetického hmotníku s odklonem paprsku 180° v poli permanentního magnetu (Obrázek 6). Z. Dolejšek přístroj dovedl do funkční formy a v r. 1957 obhájil diplomovou práci s tímto námětem.
ČSHS: Obrázek 6: Dr. Zdeněk Dolejšek a výsledek jeho diplomové práce – malý hmotnostní spektrometr Dempsterova typu
Koncem padesátých let byly u nás ve stavbě ještě jiné hmotnostní spektrometry. Fungující magnetický stroj s jednoduchou fokusací postavil v tehdejším VÚVETu ing. Ondráček, do laboratoře v ÚFCH docházel někdy ostravský ing. Monuš, který usiloval o stavbu průletového spektrometru Bennettova typu pro analýzu důlních plynů, ale zdálo se, že přístroj nikdy pořádně nefungoval.
V roce 1957 přijala laboratoř hmotnostní spektrometrie v ÚFCH ČSAV do zaměstnaneckého poměru dva končící studenty fyzikální chemie, Zdeňka Dolejška (který ve skupině už pracoval na své diplomové práci) a Zdeňka Hermana (*1934). Kromě toho si ing. Pacák přivedl jako posilu elektroniky svého končícího studenta Ladislava Hládka (*1933). Celý Ústav fyzikální chemie ČSAV byl v té době stěsnán v několika místnostech chemických ústavů University Karlovy na Albertově. Hmotníku byla k dispozici velká, temná místnost v suterénu s klenutým stropem a okny u stropu. Do místnosti se museli vejít všichni ze skupiny, včetně první laborantky Jitky Fleischhansové-Jegorové, jen ing. Pacák měl k disposici koutek v jiné místnosti v přízemí.
Rok 1957 byl pro ústav velmi důležitý, protože se mohl přestěhovat ze stísněných prostor univerzitních ústavů na Albertově do budovy zrušeného Úřadu pro věci církevní v Máchově ulici. Budovu sice několik let sdílel s Fyzikálním ústavem ČSAV, jemuž patřilo několik pater, ale místa bylo podstatně více. Hmotník se stěhoval jako poslední až v prosinci roku 1957 do místností ve 3. patře na podium, vyztužené dvěma kolejnicemi. Po odstěhování hmotníku se objevila pod stojany elektroniky sklepní místnosti Albertova velká kaluž rtuti, zřejmě pozůstatek dávného prasknutí McLeodova manometru. V Máchově ulici v místnosti se strojem seděli „mladší“, Zdeněk Dolejšek a Zdeněk Herman, a laborantka Jitka Jegorová, „šéfové“ Hanuš a Čermák sdíleli úzkou „nudli“ vedle. Časem se prostor ještě zvětšil, po odstěhování fyziků a nárůstu přístrojového vybavení.
Zpočátku – na podzim ještě na Albertově – pracovali všichni společně. Hmotník byl používán k řešení speciálních analytických úkolů zvenčí, jako byla analýza čistoty vzácných plynů pro jejich výrobce Moravské chemické závody, analýza znečištěnin ve vzácných plynech, analýza vzorků s ¹⁵N po izotopických experimentech biologů a biochemiků, analýza poměru izotopů Ar pro geology, nebo první organické analýzy, jako byla analýza methylovaných příměsí v kaprolaktamu pro Moravské chemické závody (2,3). Postupně vznikal ale vlastní, čistě hmotnostně spektrometrický program. Od počátku bylo zvykem sledovat všechny publikace z oblasti hmotnostní spektrometrie (tehdy to ještě šlo), psát si o separáty a ty nebo fotokopie prací z časopisů ukládat do knihovničky laboratoře. Po létech se tento soubor rozrostl na tisíce prací. Rok 1957 byl i v tomto ohledu dost zlomový: vyšla kniha Fielda a Franklina „Electron Impact Phenomena“. Field, Franklin a Lampe publikovali první práce o reakcích iontů s molekulami, známa byla i starší izolovaná práce Talrozeho z r. 1952 o tvorbě „neklasického“ iontu CH₅⁺, předmětem častých diskusí byla kvazi-rovnovážná teorie hmotnostních spekter, pocházející ze skupiny Henryho Eyringa (Henry Rosenstock 1952). Meyerson s Rylanderem publikovali velmi zásadní práci o přesmyku iontů toluenu na sedmičlenný kruh tropylia C₇H₇⁺ (4). Byla to právě tato práce, která Hanuše a Čermáka inspirovala nejprve ke studiu spekter substituovaných alkylthiofenů a k návrhu analogického přesmyku iontů z pětičlenného kruhu na šestičlenný kruh se zabudovanou nejvnitřnější skupinou CH (5), později Hanuše a Dolejška k několika pracím o přesmyku řady ionizovaných isomerů C₇H₈ na tropyliový ion (6).
Práce v laboratoři se pak začala specializovat. Zdeněk Dolejšek více spolupracoval s Hanušem a oba se čím dále tím více zabývali hmotnostními spektry organických látek a přesmyky iontů, Čermák a Herman se zabývali od konce 50. let srážkovými procesy mezi ionty a molekulami. V měření na jediném stroji se obě pracovní skupiny pravidelně po několika měsících střídali.
Čermák s Hermanem také přístroj upravili tak, že prostor iontového zdroje bylo možno diferenciálně čerpat silnější pumpou. Byla to skleněná rtuťová difuzní pumpa o čerpací rychlosti asi 60 l/s, „majstrštyk“ ústavních sklářů Šaňka a Černého, spojená se skleněnou vymrazovačkou, chlazenou kapalným dusíkem. Pro sledování reakcí s alkalickými kovy později neváhali ještě jednou trubici navrtat, aby se do prostoru iontového zdroje dala přes skleněný zábrus nasunout pícka. Také jednoduchý elektronkový zesilovač iontových proudů byl nahrazen zesilovačem na principu vibračního kondenzátoru, zhotovený na zakázku v Ústavu přístrojové techniky ČSAV v Brně ing. Vavrouchem. Zesílení iontových proudů pomocí násobiče bylo ještě v nedohlednu. Přístroj rozhodně nepůsobil příliš elegantně, původní měděná trubice s mosaznými přírubami a olověným těsněním byla zašlá, kromě cínových spojů kovových částí se některé netěsnosti opravovaly také černým piceinem. V polovině šedesátých let navštívil laboratoř jeden z čelních amerických spektrometristů, Vernon Dibeler, starší laskavý pán, jehož všichni velmi obdivovali - pod jeho vedením začaly v National Bureau of Standards fotoionizační experimenty. Podíval se úkosem na záplatovaný stroj a řekl jenom: „Hm, tak na tomhle vy děláte ty své experimenty.“
Posledním společným podnikem celé laboratoře byla stavba dvou speciálních spektrometrů pro přesné stanovení deuteria ve vodíku v oblasti přirozených koncentrací, tak zvaných „vodíkáčů“ počátkem šedesátých let (Obrázek 7). S tímto zadáním přišlo tehdy Ministerstvo chemického průmyslu. Účel zakázky byl trochu nejasný, ale v kompenzaci za jejich zhotovení měla laboratoř dostat vakuovou pájecí pec (o finančním vyrovnání nebyla v té době řeč). Taková pec byla výborným zlepšením konstrukčních možností, protože umožnila nahradit „měkké“ cínové spoje daleko kvalitnějším „tvrdým“ vakuovým pájením mědí. Oba stroje s permanentním magnetem, současným záznamem m/z 2 (H₂⁺) a m/z 3 (HD⁺) s řádově odlišnými citlivostmi, speciálními zdroji a vlastní vyvinutou elektronikou byly během jednoho roku postaveny a odladěny (7). Jejich přesnost (0,3% v oblasti přírodních koncentrací deuteria) byla lepší než u nejlepších komerčních strojů té doby od firmy Atlas. Pak se však ukázalo, že na ministerstvu se vyměnili úředníci, nikdo o zakázce po roce nevěděl a nikdo o stroje neměl zájem, takže oba přístroje zůstaly v laboratoři. Pec pro vakuové pájení však byla dodána a používána a na „vodíkáče“ nějaký čas jezdil měřit balneolog Dr. Konopáč, který se na nich pokoušel hledat pomocí rozdílů v koncentracích deuteria spojení mezi minerálními prameny karlovarské a teplické oblasti.
Značnou posilou pro laboratoř a zvláště pro organickou hmotnostní spektrometrii Hanuše a Dolejška se stal rok 1962, kdy Akademie věd konečně poskytla finanční prostředky na nákup prvního komerčního hmotnostního spektrometru. Byl to ruský přístroj pro chemickou analýzu MCH 1303 lenigradského závodu SKB (Specialní konstrukční byro Akademie věd, Leningrad). V té době už bylo v zemi několik strojů sovětské provenience pro izotopickou nebo chemickou analýzu (např. od konce 50. let v Ústavu jaderného výzkumu nebo v některých průmyslových podnicích), ale publikací odtud vycházelo velmi málo, pokud stroje vůbec fungovaly.
ČSHS: Obrázek 7: Schema přístrojů pro přesnou analýzu malých množství deuteria ve vodíku, postavených v ÚFCH ČSAV počátkem šedesátých let
Tento „Ivan“ (jak byl stroj okamžitě pokřtěn, aby se odlišil od původního „Dědka“) byl magnetický stroj s jednoduchou fokusací, velkým poloměrem a rozlišovací schopností nad 600 hm. j. Hanuš z něj ovšem dokázal vytáhnout mnohem více, s hrdostí ukazoval rozlišené hmotnosti iontů C₃H₇⁺ a C₂H₃O⁺, což vyžadovalo rozlišovací schopnost okolo 1200 hm. j. Přístroj byl celokovový s horizontální trubicí, se rtuťovými difuzními pumpami a typickými uzavíracími ventily, používanými SKB, s kovovým napouštěcím systémem a kombinovanou lampovou a polovodičovou elektronikou, nad jejíž komplikovanou koncepcí Doc. Pacák trochu kroutil hlavou. Uvést do chodu jej přijeli dva bodří montéři z Leningradu. Na samém počátku jej proslavily dvě pozoruhodnosti. Za prvé, přístroj přišel v bednách s místem určení „Čechoslovackaja sovětskaja socialističeskaja respublika“, jak si leningradští odesilatelé zřejmě vysvětlili zkratku ČSSR. Za druhé, montéři měli na počátku velké problémy s předvakuem, až do okamžiku, kdy nakonec otevřeli kovový předvakuový reservoár a odstranili z něj lístek z leningradského metra. Nicméně byl tu další fungující stroj, který Hanuš během doby dále upravil chytrým zavedením napouštění malých množství pevných organických látek ze zahřívané kapiláry přímo do zdroje a nahrazením klasického detektoru vlastním detektorem typu Bernhard-Schütze, z dílny velkého přítele laboratoře, berlínského prof. F. Bernharda. A tím se také uvolnilo na „Dědkovi“, kterého mohli teď Čermák s Hermanem používat a přestavovat podle libosti pro výzkum srážkových procesů iontů.
Instalace „Ivana“ vedla i k dalším novinkám: prof. Šorm, ředitel ÚOCHB ČSAV, poslal do laboratoře na dlouhodobé zaškolení v hmotnostní spektrometrii Dr. Ladislava Dolejše a jeho spolupracovnici. Jeho cílem bylo koupit pro potřeby ÚOCHB hmotník a Dr. Dolejš měl být zakladatelem této skupiny. Dolejš byl vynikající syntetický organik a jedna z ozdob Šormova ústavu v oblasti přírodních látek, vrstevník Hanušův a prostě prima člověk po všech stránkách. S Hanušem pak začali s analýzou a určováním struktury přírodních látek, zvláště alkaloidů. V té době vznikla u nás skutečná hmotnostní spektrometrie organických látek, obor, který právě ve světě začal bujet. Odtud se počíná Hanušova práce, které se pak věnoval celý zbytek života a kterou označoval jako „objasňování struktury organických a bioorganických látek metodami hmotnostní spektrometrie“. Se Zdeňkem Dolejškem se věnoval ještě interpretaci spekter adamantanů (8) a řady terminálních substituovaných acetylenů (pentynů – oktynů) (9), až do Dolejškova odjezdu k Fredu Lossingovi do Kanady v r. 1964. Hanušova hlavní pozornost se však soustřeďovala na vztah struktury molekul a monomolekulové disociace iontů, včetně přesmyků iontů – oblast, v níž byl vysoce respektován po celém světě. Dlouhá řada asi sedmdesáti prací vycházela z jeho spolupráce s Ladislavem Dolejšem (10), Karlem Machem (11), Jiřím Miterou a řadou organiků, biologů, a lékařů. Týkala se uplatnění hmotnostní spektrometrie v organické chemii, biochemii, biologii, medicíně, forenzní medicíně a řadě dalších oborů (10,11). Když byla u nás založena v r. 1972 Dr. Chundelou laboratoř pro sledování dopingu ve sportu, pomáhal Vladimír Hanuš spolu se Zdeňkem Dolejškem a s technickým přispěním L. Hládka v jejím zavedení. Hanušova účast v okamžitém a úspěšném řešení případů otrav zachránila řadu životů. Čestmír Jech o něm jednou po právu napsal: „jeho práce bohatě naplnila a překonala požadavky společenské užitečnosti“. Podrobný popis toho, co všechno Vladimír Hanuš za ta léta udělal, nelze ani dost dobře poskytnout. Stojí za to ale poznamenat, že Vladimír vždycky trval na tom, že zákazníci za analýzy nebudou nic platit, protože „poskytovat bezplatný servis společnosti je povinností pracovníků Akademie věd“.
V roce 1967 svolala laboratoř schůzku všech pracovníků v oboru hmotnostní spektrometrie. Schůzka se konala v kinosále Technického musea dne 13. dubna 1967 a řídil ji Dr. Čermák. Ze záznamu, který jsem objevil ve svých poznámkách a který je patrně jediným zachovalým písemným svědectvím o tomto setkání, vyplývá, jak podstatně se hmotnostní spektrometrie rozvinula v Československu během něco málo více než deseti let od konstrukce prvního spektrometru u nás. V následujícím textu uvádím přehled tehdejších pracovišť se jmény a náměty práce podle těchto poznámek s omluvou, že některá data (na př. křestní jména pracovníků) jsou neúplná.
Ústav fyzikální chemie ČSAV (V. Čermák, V. Hanuš, Z. Dolejšek, Z. Herman)
- hmotnostní spektrometry vlastní konstrukce, MCH 1303, MI 1305
- vývoj spektrometrů a elektronických součástí
- hmotnostní spektra a struktura organických molekul
- studium volných radikálů
- srážkové procesy iontů a vzbuzených částic
Východočeské chemické závody Pardubice (Horák, Novák)
- hmotnostní spektrometr: MCH 1303
- výzkum hoření
- servis: kvantitativní stanovení perm. plynů
Chemický ústav SAV, Bratislava (Kováčik)
- hmotnostní spektrometr: MCH 1306
- strukturní otázky: štěpy polysacharidů, alkaloidy
- studium antioxidantů fenolového typu (spolupráce s VŠ chemickou v Bratislavě, skupina ropy)
Prirodovedecká fakulta Komenského university Bratislava (katedra jaderné chemie) (Drienovský, Macášek)
- hmotnostní spektrometr: MCH 1303
- studium acetonacetátových systémů
Ústav experimentální botaniky ČSAV (Králová)
- hmotnostní spektrometr: MI 1305
- analýza plynů: isotopická analýza N2 (biochemické a biologické pokusy – živočišný a zemědělský výzkum)
Ústav jaderného výzkumu ČSAV (Z. Prášil, E. Klosová)
- hmotnostní spektrometry: 2 stroje MI 1305
- běžná analýza plynů z radiačních procesů
- teoretické otázky: vznik hmotn. spekter a radiolytické procesy
- (Matoušová: isotopické složení Li z různých zdrojů)
Výzkumný ústav uhelný, Ostrava (Petráš)
- hmotnostní spektrometr: Atlas GD 50 – v instalaci
- analytika plynů
Výzkumný ústav sdělovací techniky Praha (Kutil)
- hmotnostní spektrometr: JEOL JMS 01
- stopová analýza pevných látek
Dusíkárny Ostrava (Hejda)
- hmotnostní spektrometry: MCH 2002, JMS 02A, 2 spektrometry z VÚ vakuové elektrotechniky
- analýza vzácných plynů
- organická analýza (JMS: stanovení molekulové váhy, identifikace chromatografických frakcí)
Výzkumný ústav vakuové elektrotechniky Tesla - VÚVET, Praha (Pecha)
- konstrukce spektrometrů (do r. 1960 3 stroje – 2× Ostrava, VŠ Báňská pro petrochemii)
- souč. stavba velkého stroje
- konstrukce násobiče Schutze-Bernhardt
- omegatron
Výzkumný ústav geologický, Praha (Šmejkal)
- hmotnostní spektrometry: MI 1305, Atlas M-86
- isotopické složení olova (pro geochem. datování)
- analýza plynů
(12. Vysoká škola báňská, Ostrava) (Kubička)
(13. Thomayerova nemocnice Krč, Praha) (Tlustý)
- hmotnostní spektrometr: HS Atlas pro respirační analýzu
Poslední dvě pracoviště byla teprve ve stavu zakládání, proto jsou uvedena v závorce.
Tato schůzka vedla k užší spolupráci mezi pracovníky oboru u nás a vedla posléze k ustavení odborné skupiny pro hmotnostní spektrometrii Československé společnosti spektroskopické v létě r. 1971 s Dr. V. Čermákem v čele (podle záznamů ČSSS). V r. 1973 převzal vedení skupiny Zdeněk Herman, který s ní připravil především účast na konferenci XX. Colloquium Spectroscopicum Internationale, pořádaném v r. 1977 ČSSS v Praze. Hmotnostní spektrometrie měla na tomto jubilejním symposiu samostatnou sekci s bohatou mezinárodní účastí. V r. 1977 se stal vedoucím odborné skupiny Miroslav Ryska.
ČSHS: Obrázek 8: Schema přístroje JEOL JMS-D100, používaného Dr. Hanušem od 70 let pro objasňování struktury organických a bioorganických látek
Dalším významným mezníkem v oddělení hmotnostní spektrometrie Ústavu fyzikální chemie ČSAV a v práci Vladimíra Hanuše se stal rok 1973. Toho roku získal za výhodných podmínek od japonské firmy JEOL hmotnostní spektrometr JMS-D100 (Obrázek 8). Konečně tady byl přístroj s dvojí fokusací a rozlišovací schopností nad 10 000 hm. j. a také s počítačovým datasystémem, sice ne nejmodernějším, ale zařízením, které představovalo značné zjednodušení a zrychlení práce (Vladimír ovšem choval k tomuto „hučáku“ – jak si datasystém s hlučnými ventilátory překřtil – dlouho nedůvěru a luštil raději fotozáznamy spekter ručně). Téhož roku začíná Hanušova plodná spolupráce s mladým studentem Františkem Turečkem (Obrázek 9) (12), která trvala až do Frantova odchodu do zahraničí v r. 1987. Do laboratoře pak přišel další výborný student organiky, Martin Smrčina, s nímž Hanuš spolupracoval několik let, zase až do doby jeho odchodu do USA. Strojový park organické spektrometrie byl dále rozhojněn v r. 1995, kdy ze Synthezie Pardubice přišel darem starší spektrometr s dvojí fokusací VG 7070E (rok výroby 1984), který je dodnes používán Jiřím Kubištou ke studiu komplexů přechodových kovů v homogenní katalýze ve spolupráci s Dr. K. Machem. Po Martinovi Smrčinovi si Vláďa Hanuš přivedl z univerzity jako mladšího spolupracovníka Miroslava Poláška. V r. 2000 pak německá firma na doporučení Helmuta Schwarze nabídla pouze za cenu odvozu starší hmotnostní spektrometr s dvojí fokusací ZAB (podobný stroj už delší dobu fungoval v Ústavu organické chemie a biochemie AVČR), který byl uveden brzy do provozu.
ČSHS: Obrázek 9: František Tureček, doktorand a spolupracovník Dr. Hanuše v 70. letech
Zdeněk Dolejšek zpočátku spolupracoval s Vladimírem Hanušem, jeho nezávislé působení se začalo odvíjet od r. 1964 a je předmětem jiného článku.
Vladimír Čermák a Zdeněk Herman studovali od konce padesátých let systematicky především srážkové procesy mezi ionty a molekulami. Začali kinetikou reakcí iontů s molekulami v jednoduchých plynech (N₂, CO, CO₂ atd.) a hned napoprvé měli štěstí, že našli reakce, v nichž – aby reakce se stala exotermickou – reagovaly jen elektronicky vzbuzené ionty (13). V té době to bylo bráno jako první důkaz něčeho, co nyní považujeme za velmi triviální – že totiž elektronická excitační energie je účinná při překonání energetické bariéry reakce.
Příkladem může být reakce
N₂⁺* + N₂ → N₃⁺ + N
v níž reaktivním stavem byl vzbuzený kvartetní stav molekulového iontu (do té doby předpověděný jen na základě výpočtů).
Sledování srážkových procesů se zvýšeným tlakem ve zdroji vyžadovala časté měření energií vzniku iontových reaktantů i produktů. Při tom si všimli, že i pod ionizačním prahem zůstává malý signál iontového proudu, který už dále neklesal při snížení energie elektronů. Brzy jev vysvětlili: elektrony s příliš nízkou energií (5-6 eV) procházely iontovou komůrkou aniž ionizovaly molekuly, pak byly urychleny k lapáčku elektronů a až v prostoru lapáčku vyvolaly ionizaci. Takto vzniklé kladné ionty byly stejným elektrickým polem urychleny zpět do iontové komůrky a tam přenosem náboje vytvářely pomalé ionty, které mohly být vytaženy kolmo z komůrky do spektrometru. Měli tak k dispozici jednoduché zařízení pro obtížné studium procesů přenosu náboje, aniž bylo třeba stavět speciální aparaturu (Obrázek 10). Pokud napustili do iontového zdroje směs velkého přebytku např. vzácného plynu s malým množstvím polyatomové molekuly, získali hmotnostní spektrum produktů přenosu náboje mezi ionty vzácného plynu a oné molekuly. Obvyklé sledování reakcí iontů s molekulami v ionizační komůrce spektrometru dovolovalo měření produktů reakce většinou jen tehdy, byla-li hmotnost produktu větší než hmotnost reaktantu, iontové produkty o menší hmotnosti než hmotnost iontového reaktantu byly překryty řádově silnějšími signály fragmentových iontů z elektronové ionizace. A zde pouhou změnou energie elektronů, letících přes ionizační komůrku, se nabízela jedinečná možnost výzkumu v běžném spektrometru jinak těžko sledovatelného procesu. A dále: hned bylo jasné, že přenosem náboje lze na terčovou molekulu přenést jenom jednu specifickou energii – rekombinační energii iontového projektilu a tedy dodat vzniklému molekulovému iontu určitou specifickou energii nad jeho ionizační energii. Něco takového nebylo možné ani ionizací elektrony ani fotoionizací, kde část energie může odnést uvolněný elektron. Přenos náboje tedy umožnil přímou cestu k získání rozpadových křivek polyatomových molekulových iontů („break-down curves“, t.j. závislost koncentrací molekulového a fragmentových iontů na vnitřním vzbuzení molekulového iontu po reakční době asi jedné mikrosekundy). K disposici byla tehdy poměrně mladá kvazi-rovnovážná teorie hmotnostních spekter (QET, Rosenstock, Eyring aj., 1952) a bylo jasné, že výsledky studií přenosu náboje mohly nabídnout prakticky první srovnání s Rosentockovými výpočty. Když porovnali výsledky přenosu náboje mezi vzácnými plyny a propanem s čistě teoretickými výpočty Henryho Rosenstocka pro propan (14), dostali zásadní shodu mezi výsledky experimentu a osm let starými, čistě teoretickými výpočty, spočívajícími na obrovských, tehdy dost kritizovaných, zjednodušeních (monomolekulový rozpad, kvazi-kontinuum stavů atd.). Tenhle typ jednoduchého využití iontového zdroje s pozměněným urychlením elektronů k studiu přenosu náboje byl svého času nazýván „Čermákův-Hermanův experiment“ a byl dost populární ve světě. Používalo jej hodně lidí, protože skoro každý hmotník se dal otočením knoflíku k němu použít. Arnim Henglein pomocí tohoto experimentu poprvé popsal mechanismus „stripping“ v reakcích iontů s molekulami. Experiment byl ale brzy vytlačen konstrukcí speciálních strojů se dvěma kolmými iontovými paprsky. Jeden takový speciální stroj měl v té době už k dispozici Einar Lindholm ve Stockholmu, ale jako fyzik jej používal ke studiu malých biatomických molekul, jejichž rozpady interpretoval správně pomocí molekulových orbitalů a izolovaných křivek potenciální energie. Teprve později se vrhl na polyatomové soustavy, jejichž ionty se v rámci Rosenstockovy teorie chovaly jako statistický soubor. Začal měřit rozpadové křivky řady molekulových iontů daleko lépe, než jsme mohli my, a bylo načase vyklidit pole lepší metodě. Konečně po několika letech se staly zdrojem nejpřesnějších rozpadových křivek koincidenční fotoionizační experimenty, ale prvopočátek úspěšného ověření teorie QET byl v experimentech s přenosem náboje.
ČSHS: Obrázek 10: Schema využití iontového zdroje Nierova typu při studiu procesů přenosu náboje
Dalším námětem výzkumu chemických reakcí iontů se stala kinetika reakcí iontů ve směsích plynů s parami rtuti a alkalických kovů, která tvořila základ kandidátské práce Zdeňka Hermana (1963). Proměřil několik tuctů reakcí, určil iontové reaktanty podle energie vzniku produktu i průřezy reakcí. V některých případech energie vzniku produktu (ArHg⁺ , HeLi⁺, ArC₂H₂⁺) odpovídala energii vzniku metastabilního neutrálního atomu vzácného plynu. To vedlo k popisu reakcí asociativní ionizace typu
A*m + B → AB⁺ + e,
v nichž přebývající energii odnesl uvolněný elektron (15). Protože excitační energie byla vyšší než ionizační energie druhého z partnerů, bylo jasné, že může existovat také paralelní proces tzv. Penningovy ionizace, v němž vzbuzený atom ionizuje a případně fragmentuje molekulovou částici B
A*m + B → A + B⁺ + e.
Pomocí zvláštního iontového zdroje s molekulovými tryskami (Obrázek 11), v němž byly ionty elektrickým polem odkloněny, byl získan paprsek neutrálních vzbuzených částic a to umožnilo sledovat stupeň fragmentace polyatomových molekulových iontů a pomocí rozpadových křivek příslušného molekulového iontu odvodit energii absorbovanou molekulou při Penningově ionizaci (16). Byl také zpracován jednoduchý model, který pomocí křivek potenciální energie dával do vzájemné souvislosti Penningovu ionizaci, asociativní ionizaci a chemiionizaci (17). Výsledkem společné práce v této oblasti v létech 1966-68 byla ještě řada publikací o asociativní ionizaci a chemiionizaci i poslední společná práce, studium elektronové spektroskopie Penningovy a asociativní ionizace rtuti (18).
ČSHS: Obrázek 11: Iontový zdroj s molekulovými paprsky pro výzkum iontových produktů Penningovy ionizace
Od počátku bylo jasné, že významnou informaci o procesu nese uvolněný elektron, a že důležité by bylo měřit přesně jeho energii. K tomu měla sloužit jednoduchá Lozierova trubice, kterou autoři postavili během roku 1963 a kterou si V. Čermák vzal v r. 1964 na stipendijní pobyt do USA jako jeden z prvních hostujících vědců Ústavu laboratorní astrofyziky univerzity v Coloradu v Boulderu (velmi prestižní stipendium JILA Visiting Fellowship) a na dobudovaném přístroji tam zahájil období výzkumu elektronové spektroskopie Penningovy ionizace (PIES) (Obrázek 12). Vladimír Čermák se vrátil koncem roku 1965 z USA s výborným deflekčním analyzátorem pro měření energie elektronů v kapse. Postavil jej Art Schmeltekopf, který se ve skupině Eldona Fergusona v NBS v Boulderu chystal k měření uvolněných elektronů v reakci H⁻ + H, a prostě zhotovil jeden analyzátor pro Čermáka navíc. Byl to 127° analyzátor, zhotovený speciálně z molybdenu, a Čermák kolem něho postavil spolehlivou aparaturu s pěkným rozlišením. Čermák se pak systematicky věnoval až do své předčasné smrti v r. 1980 elektronové spektroskopii Penningovy ionizace, oboru, který založil, a který se pak stal stabilní součástí mezinárodních konferencí fyziky srážkových procesů. Proměřil elektronová spektra spousty látek (19,20), vytyčil rozdíly mezi excitací vzbuzenými částicemi a fotony, popsal řadu specifických vlastností látek s různými funkčními skupinami, popsal autoionizované stavy řady částic (21). Je považován za zakladatele tohoto oboru (jediné spektroskopie, která u nás vznikla) a jeho práce byla vysoce respektována po celém světě (22).
V r. 1964 odjel Zdeněk Herman na post-doktorální pobyt do USA a na Yaleově Universitě ve skupině prof. Richarda Wolfganga začal stavět přístroj pro výzkum reakční dynamiky reakcí iontů ve zkřížených paprscích částic. Tento směr práce byl odrazem vzrušujících prvních výsledků výzkumu chemických reakcí neutrálních částic v molekulových paprscích za podmínky jedné srážky mezi reaktanty z první poloviny šedesátých let a snahou bylo získat odpovídající informace o mechanismu a dynamice reakcí iontů.
ČSHS: Obrázek 12: Čermákovy přístroje pro výzkum elektronové spektroskopie Penningovy ionizace (PIES): Lozierova trubice (vlevo) deflekční analyzátor energie elektronů (vpravo)
První úhlové rozdělení produktů reakce iontu s molekulou (Turner, Fineman, Stebbings 1965) a rozdělení translační energie produktů (Henglein, Lacmann 1965) neposkytly plný obraz o dynamice reakce, ukázalo se, že je třeba kombinovat obě měření, jak rozptylového úhlu, tak translační energie produktů. Přístroj EVA I („Electron-Volt Apparatus“) byl stavěn právě s tímto cílem, kombinace paprsku iontů reaktantu s přesně definovanou translační energií a křižujícího kolimovaného molekulového paprsku neutrálního reaktantu a možností měřit jak úhlové rozdělení tak profilů energie iontového produktu u různých roztylových úhlů. Jiné přístroje z té a pozdější doby (např. skupina B. Mahana v Berkeley) kombinovaly častěji iontový paprsek s rozptylovou komůrkou se směrově neuspořádanými molekulami neutrálního reaktantu. Přístroj EVA I poskytl řadu dat o reakcích iontů a jejich mechanismech, především o charakteristikách reakcí přímých a reakcích probíhajících s tvorbou meziproduktu, komplexu s dlouhou dobou života (23-26). Hermanovu spolupráci se skupinou Richarda Wolfganga v reakční dynamice z let 1964–69 (Obrázek 13) přeťala posrpnová omezení v cestování z konce roku 1969 a Wolfgangova tragická smrt v r. 1970. (Při poslední návštěvě na Yaleově universitě v r. 2010 mi bylo potěšením vidět, že kolegové v oddělení uchovávají horní, pod vakuem otočné víko přístroje EVA I jako vzácný historický předmět a počítají s ním jako s exponátem do chystaného musea oddělení.)
ČSHS: Obrázek 13: Richard Wolfgang a Zdeněk Herman u přístroje EVA I (Boulder,Colorado, 1969)
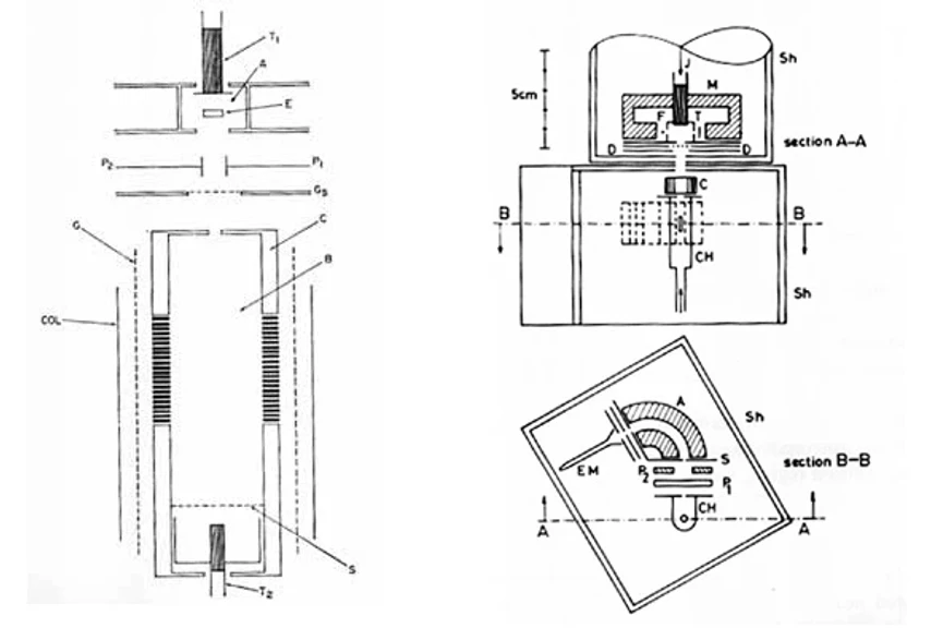
Od r. 1969 stavěl Herman s aspirantem Vojtěchem Pacákem (Obrázek 14) v Ústavu fyzikální chemie ČSAV vylepšenou verzi prvního aparátu EVA I se zkříženými paprsky iontových a neutrálních reaktantů s vylepšeným hmotnostně spektrometrickým analyzátorem iontů reaktantu a lepším poměrem signálu a šumu. Začátek této stavby znamenal definitivní konec „Dědka“, který byl rozebrán, ale velký magnet byl použit dále jako magnet detekčního spektrometru nového přístroje. Základem aparatury (Obrázek 15) byla poměrně velká rozptylová komora, svařená z nerezu a opatřená víkem, otočným pod vakuem. Na něm byly namontovány zdroje paprsků, analyzátor energie byl umístěn na pevném detekčním hmotnostním spektrometru, na jehož konci seděl za oddělujícím deskovým ventilem násobič. Obě tyto části, stejně jako spoustu u nás ještě neznámého materiálu (teflonem potažené dráty do vakua, teflonové pásky, motorek do vakua, bor-nitridové izolátory, jemné mřížky atd.) byly darem Richarda Wolfganga. Jako zdroj křižujícího molekulového paprsku sloužila dobře vyzkoušená mnohokanálová tryska pana Protivy, a stroj byl čerpán velkými olejovými difuzními pumpami z Tesly Opočno (2000 l/s a 250 l/s) s náplní konvalexu. Elektronické obvody zhotovili prakticky „na míru“ Doc. Pacák a ing. Hládek, včetně doma postaveného modulovaného zesilovače pro oddělení stejnosměrné a frekvenčně zamknuté složky signálu proudů produktu z překřížení paprsků, o pět řádů menšího než signál iontového reaktantu. S mechanickou částí pomohl dočasně v ústavu působící ing. Hánečka a výborní mechanici ústavu, v čele s panem Protivou.
ČSHS: Obrázek 14: Vojtěch Pacák a Zdeněk Herman po letech
Přístroj EVA II byl spuštěn asi po roce konstrukční a kalibrační práce a v Praze tak začal výzkum reaktivního rozptylu iontů. Po roce 1970 bylo ovšem cestování kamkoliv skoro vyloučené. Herman s Wolfgangem ještě stačili na dálku dokončit kapitolu do knihy Joe Franklina o reakcích iontů s molekulami, ale přímé kontakty s kolegy v USA byly prakticky znemožněny. Naštěstí se našly spřízněné duše v oblasti „socialisticky“ dostupné: v Liblicích na Zahradníkově kvantově-chemické konferenci došlo k setkání s Lutzem Zülicke z východoberlínského Centrálního ústavu fyzikální chemie Akademie věd NDR a k rychlé domluvě na spolupráci. V Berlíně měli velký ruský počítač, na němž mohli počítat trajektorie částic – něco o čem v Praze nebylo zatím ani řeči – a brzy byla došlo i k dohodě o vhodné reakci pro společné teoreticko-experimentální pojednání: šlo o tvorbu HeH⁺ v reakcích iontu H₂⁺ s He. Byla to jedna z prvních reakcí iontů s molekulou pojednána „z obou stran“, jak teoreticky (výpočet trajektorií částic v potenciálním poli reaktantů a produktů a sumace výsledků) tak experimentálně (rozptyl v paprscích částic) se srovnáním získanýchdynamických veličin (úhlového rozdělení, rozdělení translační energie produktů atd.) (27).
ČSHS: Obrázek 15a: Pražský přístroj EVA II pro výzkum dynamiky chemických reakcí iontů s molekulami, schema a pohled na vnitřní uspořádání zdrojů paprsků
ČSHS: Obrázek 15b: Celý přístroj EVA II v r. 1973
Práce se v Praze rozvíjela docela pěkně, cesty z Prahy na západ byly sice vyloučeny, ale do Prahy přijížděli v rámci dohod kolegové z USA i jiných zemí na dostatečně dlouhé návštěvy, aby pracovali na spolehlivě fungujícím přístroji pro výzkum reaktivního rozptylu iontů a tak vznikaly společné publikace. Postupně tak autoři popsali pomocí rozptylových experimentů dynamiku přenosu náboje (s anglickým stipendistou Keithem Birkinshawem a s V. Pacákem a P. M. Hierlem, 1977 (28)), konkurenci různých mechanismů v jedné reakci (1989 (29)), tvorbu komplexu v reakcích iontů s molekulami (30), rozptyl v reakcích přenosu náboje atomových dikationtů (31,32)(Obrázek 16), dynamiku přenosu hydridového iontu (33,34), chemické reakce dikationtů (35,36) a v poslední době i interakce iontů s povrchy pevných látek (37), kde použili ke sledování rozptylu iontů po srážce s povrchem modifikovanou aparaturu EVA II s křižujícím paprskem nahrazeným destičkou z nerezu, uhlíku, wolframu, berylia apod.
ČSHS: Obrázek 16: Spolupracovníci v r. 1985: Břetislav Friedrich, Zdeněk Herman, Jan Vančura
To už ovšem dávno nebyla čistá hmotnostní spektrometrie a také mezinárodní setkání hmotnostní spektrometrie se tematicky začala s touto prácí rozcházet, byť reakce iontů a metodika používaných hmotnostních spektrometrů udržovala obor stále na obzoru. Pokud byly součástí konferencí hmotnostní spektrometrie sekce jako fundamentální procesy nebo chemie iontů, bylo vhodné podle možností usilovat o účast na nich. Takové byly starší americké konference ASTM (později ASMS) z let 1964 – 1969 jakož i poslední, na níž byl Herman pozván k přednášce v r. 1975, nebo evropská konference o hmotnostní spektrometrii v Berlíně v r. 1967, ale postupem času fundamentální srážkové procesy se přesouvaly do speciálních konferencí (Gordonovy konference o reakční dynamice nebo chemii iontů, ICPEAC, MOLEC apod.), zatímco těžiště rychle rostoucích hmotnostně spektrometrických konferencí se posouvalo do oblasti přístrojové, analytické, organické a bioorganické. Hlavně však tvrdá cestovní omezení nebo dlouhodobé zákazy cest do zahraničí vyžadovaly soustředění jen na velmi malý počet těch nejužitečnějších setkání. Smutnou dlouhodobou bilancí bylo, že z četných pozvání na konferenční přednášky s plně hrazenou účastí ze strany pořadatelů (takže českou stranu by to nestálo ani vindru) se v sedmdesátých a osmdesátých létech uskutečnilo méně než jedno z osmi. To byla hodně zlá omezení kontaktu se zahraničím, ale tak zle zase nebylo, neboť – jak už zmíněno výše – naši kolegové ze Západu přijížděli do Prahy na krátké návštěvy i delší pobyty, aby v Praze na speciálním přístroji měřili a společně publikovali, případně přednášeli společné příspěvky na konferencích, na nichž pražským kolegům byla účast znemožněna (Keith Birkinshaw, Jean Futrell, Andy Yencha, Peter Hierl, Michael Henchman a další). Situace se zásadně změnila až po r. 1989 a pak už bylo všechno snazší.
- Čermák V., Hanuš V., Pacák M.: Slaboproudý obzor 20, 603 (1959).
- Čermák V.: Chem. prům. 7, 8 (1957).
- Čermák V., Hanuš V.: Chem. prům. 34, 235 (1959).
- Rylander P. N., Meyerson S., Grubb H. M.: J. Am. Chem. Soc. 79, 901 (1957).
- Hanuš V., Čermák V.: Collect. Czech. Chem. Commun. 24, 1602 (1959).
- Hanuš V.: Nature, 184, 1796 (1959).
- Čermák V., Hanuš V., Hládek L., Herman Z., Pacák M., Schulz L.: Collect. Czech. Chem. Commun. 27, 1633 (1962).
- Dolejšek Z., Hála S., Hanuš V., Landa S.: Collect. Czech. Chem. Commun. 31, 435 (1966).
- Dolejšek Z., Hanuš V., Vokáč K.: Adv. Mass Spectrom. 3, 503 (1964).
- Dolejš L., Hanuš V.: Tetrahedron 23, 2997 (1967).
- Mach K., Varga V., Hanuš V., Sedmera P.: J. Organomet. Chem. 415, 87 (1991).
- Tureček F., Hanuš V.: Mass Spectrom. Rev. 3, 85 (1984).
- Čermák V., Herman Z.: J. Chim. Phys. 87, 717 (1960).
- Čermák V., Herman Z.: Nucleonics 19, 106 (1961).
- Herman Z., Čermák V.: Nature 199, 588 (1963).
- Čermák V., Herman Z.: Collect. Czech. Chem. Commun. 30, 169 (1965).
- Herman Z. , Čermák V., Coll. Czech Chem. Commun. 31, 649 (1966)
- Čermák V., Herman Z.: Chem. Phys. Lett. 2, 359 (1968).
- Čermák V.: Collect. Czech. Chem. Commun. 33, 2739 (1968).
- Čermák V., Ozenne J. B., Int. J. Mass Spectrom. Ion Phys. 7, 399 (1971).
- Čermák V.: J. Electron Spectrosc. Relat. Phenom. 3, 329 (1974).
- J. Electron. Spectrosc. Relat. Phenom. 23, 329 - 456 (1981).(číslo věnováné památce V. Čermáka)
- Herman Z., Kerstetter, J. D., Rose T. L, Wolfgang R.: Rev. Sci. Instr. 40, 538 (1969).
- Herman, Z., Kerstetter J. D., Rose T.L., Wolfgang R.:Discus. Faraday Soc. 44, 123 (1967).
- Hierl P., Herman Z., Kerstetter J., Wolfgang R.: J. Chem. Phys. 48, 4319 (1968).
- Herman Z., Lee A., Wolfgang R.: J. Chem. Phys. 51, 452 (1969).
- Schneider F., Havemann U., Zülicke L., Pacák V., Birkinshaw K., Herman Z.: Chem. Phys. Lett. 37, 323 (1976).
- Hierl P.M., Pacák V., Herman Z.: J. Chem. Phys. 67, 2678 (1977).
- Herman Z., Henchman M., Friedrich B.: J. Chem. Phys. 93, 4916 (1990).
- Sadílek M., Herman Z.: J. Phys. Chem. 97, 2147 (1993).
- Friedrich B., Herman Z.: Chem. Phys. Lett. 107, 389 (1984);
- Herman Z., Int. Rev. Phys. Chem. 15, 229 (1996).
- Žabka J., Fárník M., Dolejšek Z., Polách J., Herman Z.: J. Phys. Chem. 99, 15595 (1995).
- Herman Z.: Int. J. Mass. Spectrom. 212, 413 (2001).
- Herman Z., Žabka J., Dolejšek Z., Fárník M.: Int. J. Mass Spectrom. 192, 191 (1999).
- Roithová J., Žabka J., Hrušák J., Thissen R., Herman Z.: J. Phys. Chem. A 107, 7347 (2003).
- Herman Z., J. Am. Soc. Mass Spectrom. 14, 1360 (2003).



_s.webp)
