Škola hmotnostní spektrometrie v zrcadle času (2/3)

SSJMM: Škola hmotnostní spektrometrie v zrcadle času (2/3)
Hmotnostní spektrometrie se během své stoleté historie rozvinula do fascinujícího vědního oboru s mnoha praktickými aplikacemi. Dnes patří mezi základní pilíře analytické a bioanalytické chemie. K jejímu rozvoji u nás významně přispěly Školy hmotnostní spektrometrie. Může nás těšit, že máme jednu z nejdelších tradic pořádání intenzivních výukových kurzů zaměřených na hmotnostní spektrometrii. První Škola se uskutečnila v roce 1986 pod vedením Miroslava Rysky, tehdejšího vedoucího odborné skupiny hmotnostní spektrometrie Československé spektroskopické společnosti. Během následujících 35 let proběhlo 21 dalších, neméně úspěšných ročníků Školy.
Škola hmotnostní spektrometrie je typicky týdenní, intenzivní výukový kurz určený nejen pro nováčky v oboru, ale i zkušené odborníky. O účast je tradičně mimořádný zájem, což lze vysvětlit vynikající kvalitou přednášejících i odborného programu a skvělou a družnou atmosférou, která na těchto akcích panuje. Škola MS je ideálním prostorem pro odborné diskuse, výměnu zkušeností a navazování nových profesních kontaktů.
💡 Škola hmotnostní spektrometrie v zrcadle času (1/3) - Úvod a statistiky
Dlouhý, 1986 (I. ročník)
V druhé polovině osmdesátých let bylo v ČSSR jen několik málo laboratoří zabývajících se hmotnostní spektrometrií. První Školu MS zorganizoval Miroslav Ryska, vedoucí odborné skupiny hmotnostní spektrometrie Československé spektroskopické společnosti. Jak později uvedl, „uspořádání školy si prakticky vynutil nedostatek odborníků při současném stále četnějším zavádění analytické organické hmotnostní spektrometrie na nejrůznějších pracovištích, ať již v souvislosti s řešením problému životního prostředí, stanovení reziduí v biologických materiálech, v potravinách nebo při řešení biotechnologických problémů a pod.“
Organizátoři se museli vyrovnat s řadou těžkostí, počínaje nalezením vhodného prostoru pro setkání. Hotelové prostory nebyly k dispozici, a proto se hledalo mezi rekreačními objekty různých státních podniků. První ročník Školy (24. - 28. 11. 1986) nalezl útočiště ve školícím a rekreačním středisku národního podniku Elektro-Praga Hlinsko v obci Dlouhý. Program pro začátečníky a mírně pokročilé byl sestaven ze 17 dvouhodinových přednášek.
V úvodu byla představena historie hmotnostní spektrometrie a bylo diskutováno její postavení mezi spektroskopickými metodami. Následovala témata věnovaná ionizacím a hmotnostním analyzátorům, přičemž důraz byl logicky kladen na elektronovou ionizaci („ionizace nárazem elektronu“) a sektorové hmotnostní spektrometry. Další přednášky se zabývaly např. tandemovou hmotnostní spektrometrií, metodami GC-MS a LC-MS, interpretací spekter, nebo využitím počítačů. Závěr patřil přehledu přístrojů a podal praktický návod jak porovnávat kvalitu komerčních spektrometrů. Odborné diskuse po přednáškách následovaly dlouho do noci.
Přednášky pro přibližně 70 posluchačů zazněly od Vladimíra Hanuše (ČSAV ÚFCHE J. H.), Ivana Koruny (VÚ pro farmacii a biochemii), Vladimíra Kováčika (SAV Chemický ústav), Jána Leško (SVŠT CHTF), Pavla Matouška (VÚ syntetických pryskyřic a laků), Jaromíra Nováka (VŠCHT), Miroslava Rysky (VÚ pro farmacii a biochemii), Františka Turečka (ČSAV ÚFCHE J. H.) a Karla Ubika (ČSAV Ústav organické chemie a biochemie). Přednášky byly po přepisu na psacím stroji otištěny v Bulletinu Československé spektroskopické společnosti č. 51. Vzniklo tak 115 stran kvalitního učebního textu věnovaného základům organické hmotnostní spektrometrie.
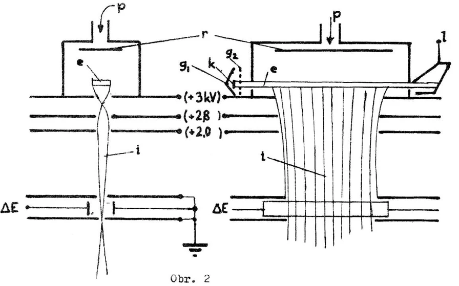
SSJMM: Ionizační komůrka zdroje EI, z přednášky V. Hanuše
Klučenice, 1988 (II. ročník) a 1990 (III. ročník)
Další dva ročníky Školy MS se pod taktovkou Miroslava Rysky uskutečnily v rekreačním středisku národního podniku Základna rozvoje uranového průmyslu (ZRUP) v Klučenicích na Orlické přehradě (dnes Hotel U jezera).
Program druhého ročníku (10. - 14. 10. 1988) zaměřený na teorii a praxi GC-MS sestával z 22 přednášek od 19 přednášejících. Záměrem organizátorů bylo zapojit co nejvíce mladých a upevnit tak počínající tradici Škol MS. Kromě přednášek se uskutečnila i 3 diskusní odpoledne, kde se debatovalo např. na téma „Má LC-MS perspektivy stát se rutinní metodou jako GC-MS?“.
Třetí Škola MS (24. – 28. 9. 1990 proběhla v mezinárodním formátu za účasti hostů z evropských universit a Akademie věd NDR (A.P. Bruins, G. Dube, J.D. Erhardt, E. Gelpi, A. Lehmann, M. Przybylski, J. Schmidt a K. Varmuza). Na přednášky zahraničních hostů navázalo 24 krátkých sdělení převážně mladých československých odborníků.
SSJMM: Hotel U jezera, bývalá chata ZRUP
Chlum u Třeboně, 1996 (IV. ročník)
Po šestileté přestávce se pořádání Škol MS chopil Vladimír Havlíček. Čtvrtý ročník (18. - 22. 3. 1996) se uskutečnil v zámeckém rekreačním objektu Spolany Neratovice v Chlumu u Třeboně a byl spojen s jednodenním seminářem o aplikacích v analýze životního prostředí. Pamětník vzpomíná, že v novobarokním zámku bylo v březnu velmi chladno a ještě tam byl cítit duch Františka Ferdinanda d’Este. Odborný program mělo na starosti 5 zahraničních a 8 domácích lektorů. Školy se zúčastnilo 100 frekventantů, čímž byla kapacita ubytovacího zařízení zcela naplněna.
Wikipedie: Esperanto-klubo Písek - Zámek v Chlumu u Třeboně
Praha, 1999 (V. ročník)
Pátá Škola MS (28. - 30. 4. 1999) proběhla v Mikrobiologickém ústavu AV ČR v Praze. Hlavními lektory byli Vladimír Hanuš (Ústav fyzikální chemie AV ČR) a Miroslav Ryska (Quinta Analytica). Přednášky pokrývaly metody ionizace, analýzy a detekce iontů. Poslední den Školy byl prostor pro přednášky uživatelů, kteří však byli „pohříchu pouze čtyři“. Během Školy předal předseda Akademie věd ČR Rudolf Zahradník Vladimíru Hanušovi speciální číslo časopisu European Mass Spectrometry vydané u příležitosti Hanušových 75. narozenin.
Mikrobiologický ústav AV ČR: MBÚ AV ČR v Praze
Červenohorské sedlo, 2002 (VI. ročník) a 2004 (VII. ročník)
Šestý (14. - 18. 10. 2002) a sedmý (27. 9 - 1. 10. 2004) ročník Školy MS se uskutečnil v hotelu na Červenohorském sedle pod vedením Vladimíra Havlíčka. Počet účastníků opět narostl, na téměř 150 frekventantů v roce 2002 a 163 v roce 2004. Rostoucí zájem organizátory těšil, ale začal narážet na limity kapacity přednáškového sálu a ubytovacích míst hotelu. V historii pořádání Škol došlo v roce 2004 poprvé k situaci, kdy organizátoři museli uzavřít webovou registraci několik měsíců před začátkem akce.
Organizační formát Školy na Červenohorském sedle se z velké části zachoval i do dalších ročníků. Z náročného programu byl vyčleněn středeční půlden pro regeneraci sil. Pro šestý ročník připravili organizátoři exkurzi do přečerpávací elektrárny Dlouhé stráně a o dva roky později do pivovaru v Hanušovicích a ruční papírny ve Velkých Losinách. Odborný program obou ročníků zahrnoval kromě přednášek z teorie a instrumentace hmotnostní spektrometrie také cvičení interpretace spekter.
Hotel Červenohorské sedlo: Hotel Červenohorské sedlo
Lednice, 2007 (VIII. ročník)
Pomyslný pořadatelský štafetový kolík se o tři roky později přesunul do Brna, do rukou Josefa Čáslavského. Osmý ročník Školy MS (10. - 14. 9. 2007) se uskutečnil v regionu kvalitních vín, v Lednickém hotelu MY. Odborný program čítající 34 přednášek nabídl široké pole témat od teoretických základů hmotnostní spektrometrie přes její historii až po nejnovější trendy a aplikační možnosti. Lednici navštívilo celkem 158 registrovaných účastníků, mezi nimiž převládali zástupci mladé generace. Středeční odpoledne nabídlo prohlídku lednického zámku nebo návštěvu vinného sklepa v nedalekých Bořeticích, a dále pak výstavu dravých ptáků s letovými ukázkami, která se setkala s mimořádným ohlasem.
SSJMM: Hotel MY v Lednici
Ústupky, 2008 (IX. ročník) a 2009 (X. ročník)
Pořadatelem dalších pěti ročníků se stal Michal Holčapek, v té době již zkušený organizátor několika akcí SSJMM s názvem Škola HPLC/MS. Ty byly pořádány v letech 2001, 2003 a 2005, tj. v mezidobí, kdy Školy hmotnostní spektrometrie neprobíhaly. Vzhledem k tematickému překryvu a obdobnému formátu obou škol bylo rozhodnuto o sloučení těchto akcí a dalšímu pořádání Škol hmotnostní spektrometrie pravidelně každý rok, což se od té doby úspěšně daří.
Devátý (22. - 28. 10. 2008) a desátý (14. - 18. 10. 2009) ročník Školy MS se odehrál v malebném prostředí Sečské přehrady v hotelu Jezerka. Oba ročníky se z velké části zaměřily na interpretaci hmotnostních spekter, a to ve třech hlavních okruzích: spektra EI, spektra měkkých ionizačních technik a spektra peptidů a proteinů. Procvičování probíhalo v menších skupinách a vyvrcholilo interpretační soutěží.
Novinkou devátého ročníku bylo zavedení posterové sekce a soutěže o nejlepší plakátové sdělení. Zajímavá byla prezentace přehledu počtu instalovaných HPLC/MS a MALDI přístrojů v ČR.
Počet hmotnostních spektrometrů v roce 2008 překročil „úctyhodných“ 160 přístrojů. Maratón přednášek a cvičení obou ročníků doplnil bohatý večerní společenský program. Volné středeční odpoledne v roce 2009 nabídlo kromě sportovního vyžití také prohlídku zámku Žleby a přilehlé obory bílých jelenů.
SSJMM: Hotel Jezerka v Ústupkách


_s.webp)
-Program-Skol-MS-z-pohledu-statistiky_s.webp)
_s.webp)